Transformatörün performansını, güvenli çalışma yöntemlerini ve teknik parametrelerini sunacağız: S9\ S11\ S13 Sıvı Dolu Transformatörler

Bu kılavuz, şirketimiz tarafından üretilen tamamen mühürlü yağ daldırılmış güç transformatörleri için uygundur, 3150KVA ve altındaki nominal kapasiteye ve 35KV ve altındaki gerilim seviyesine sahiptir.
1. Uses and characteristics
Genel güç transform at ör leri için uygun olmas ının yanı sıra , tamamen mü h ür lü yağ dal dır ılmış transform at ör ler özellikle pet rok im ya , metal ür ji , tekstil , hafi f san ayi ve işlet meler , mad en ler ve yüksek nem ve uygun suz bak ım olan kır sal alan lar için uyg undur .
Bu ürün, transformatör yağının havayla temas etmemesini sağlamak için yağ depolama dolabı ve nem emici gibi yağ koruma cihazını iptal eder, tüm mühürler mükemm mmel özel kauçukla mühürlenir, vakum yağ enjeksiyonu kullanılarak, normal koşullar altında, transformatör herhangi bir tedavi olmadan 20 yıl boyunca sürekli olarak kullanılabilir, düşük bakım maliyeti bu ürünün ana özelliğidir, ve çalışma güvenilirliği arttırılır, hizmet ömrü uzatılır.
2. Model description
S□-M-□ □
S - three phases
□-Performans seviyesi kodu (11, 13, 20)
M – sealed
□ – Rated capacity (kVA)
□-Yüksek voltaj voltajı seviyesi (10kv)
3. Transportation
1. Taşımacılık ve montaj sırasında, transformatörü kaldırırken, transformatörün son montajı transformatör yağı miktarıyla doldurulduktan sonra, yakıt deposu üzerindeki dört vinç aynı anda transformatörün toplam ağırlığını taşımak için kullanılmalıdır. Bu gereksinim karşılanamazsa, özel bir ışın kaldırma transformatörü kullanılır.
2. Bu ürünün sabitleme parçaları, güvenilir sabitleme sağlamak için tüm gevşek somurlardır. Bununla birlikte, nakliye sırasında, transformatörün yeterli istikrarı olduğundan emin olmak hala gereklidir ve transformatörün eğiminin 15 °'den büyük olmamalıdır. Kaldırırken, nazikçe kaldırılmalı ve salınmalıdır ve kaldırma ekipmanları olmadığı durumunda, şiddetli titreşimleri önlemek için toprak yavaşça hareket etmelidir.
4. Acceptance and storage
1. Transformatörü aldıktan sonra, kullanıcı hemen ürün modelini ve özelliklerini, spesifikasyonların sipariş sözleşmesiyle tutarlı olup olmadığını, isim plakalarına göre alınan özellikleri kontrol etmeli ve sonra transformatörün her bir parçasına hasar olup olmadığını, sinyal termometreler, kılıflar vb. gibi savunmasız parçaların hasar olup olmadığını ve sinyal termometre hortumunun düz olup olmadığını ve kırılıp kırılmadığını dikkatlice kontrol etmeli. Kapada yağ sızıntısı olup olmadığına göre yargılanan porselen kılıfın bütünlüğüne özel dikkat edilmeli ve transformatörün her bir mühürleme bölümünde yağ sızıntısı veya yağ sızıntısı olup olmadığını kontrol etmektir.
2. Transformatör kurulmazsa ve hemen çalıştırılmazsa ve uzun süre depolanması gerekiyorsa, tüm mühürler mühürlenmeli, yedek parçalar düzgün bir şekilde depolanmalı ve depolama durumu düzenli olarak kontrol edilmelidir.
5. transformatörlerin kurulumu ve bakımı
1. transformatörlerin kurulumu
1.1 Kullanıcı, transformatörü belirlenmiş montaj konumuna sorunsuz bir şekilde taşımak için forklift veya diğer taşıma araçlarını kullanır.
1.2 Montaj sırasında kovanın ve diğer aşınma parçalarına zarar vermemek için dikkat edin ve yakıt deposu ya da boya filmini çizik etmeyin.
2. transformatör çalışmaya başlamadan önce muayene ve yargı kriterleri
2.1 Tamamen mühürlü yağ daldırılmış güç transformatörü kullanıcıya taşındıktan sonra, çekirdeği kontrol etmeye gerek yoktur.
2.2 Transformatör "Elektrik Montaj Mühendisliği Elektrik Ekipmanlarının Teslimi Test Standartı" na göre test edilmelidir.
2.2.1 Sarma ve kolun DC direncini ölçün ve değeri aynı sıcaklıkta fabrika ölçülmüş değeri ile karşılaştırıldığında% 2 'den fazla olmamalıdır.
2.2.2 tüm muslukların değişikliklerini kontrol edin ve fabrika verileriyle karşılaştırıldığında önemli bir fark olmamalıdır.
2.2.3 transformatörün bağlantı grubu tanımının etiket işareti ile tutarlı olup olmadığını kontrol edin.
2.2.4 Yalıtım direnci değeri aynı sıcaklıkta fabrika değeri yakın olmalıdır ve Tablo 1 değerinden daha az olmamalıdır.
Tablo 1 yalıtım direnci değeri (mΩ)
temperature
| 20 | 30 | 40 | 50 | 60 |
<6 | 400 | 200 | 100 | 50 | 25 |
6 or more but less than 20 | 800 | 400 | 200 | 100 | 50 |
20 or more than 60 | 1000 | 500 | 250 | 125 | 65 |
Açıklama: 1. Test edilen bobin ölçüm sırasında topraklanmıştır. 2. 2500V megaohm metre ya da özel bir metre kullanın.
2.2.5 Harici yapı frekansı, sargı ve kovanın gerilim test voltajına dayanır Tablo 2 'de gösterilmiştir.
Yalıtım gücü frekansı için tablo 2 deneysel standartlar yüksek voltajlı elektrikli ekipmanların voltajına dayanır
Nominal Voltaj (KV). | 3 | 6 | 10 | 15 | 20 | 35 |
Factory experimental value | 18 | 25 | 35 | 45 | 55 | 85 |
Handover experimental values | 15 | 21 | 30 | 38 | 47 | 72 |
2.2.6 Transformatör yağının geleneksel test öğeleri, yeni yağın gereksinimlerine göre denetlenir (işletmeye başlamadan önce), Tablo 3 'e bakın.
Tablo 3 deneysel ürün ve çalışmaya başlamadan önce transformatör yağı standartları
Seri numarası | Itemlar | Çalışmaya başlamadan önce tanktaki yeni yağ |
1 | appearance | Şeffaf ve kirlilikler içermez |
2 | Flash point C (sealed) | 140 |
3 | Moisture mg/1 (ppm). | ≤20 |
4 | Acid value mgKOH/g | <0.03 |
5 | Breakdown voltage KV (2.5mm mm) oil gap | 35KV and below: ≥35 |
6 | Orta tangentially tangents kaybolur by 8% (90°C). | ≤0.7 |
7 | Interfacial tension mN/m (25°C). | ≥35 |
8 | Water-soluble acid (PH). | ≥5.4 |
2.2.7 yağ örnek toplama yöntemi
(1) cam test kabını yaklaşık 80-100mm mm çapında ve yaklaşık 100 ml'lik şırınga haznesini fırçalayın ve kurutun.
(2) yakıt tankının altındaki yağ örnek valf kapağını sökün.
(3) yağ örnek valf çıkışını silin ve temiz kağıt veya bezle temizleyin.
(4) cam test kabını valf çıkışıyla hizalayın.
(5)Yağın fincanın içine akmasına izin vermek için yağ örneği vanasının cıvatalarını yavaşça açmak için bir anahtar kullanın ve aynı zamanda şırınga iğnesini yağ örneği vanasının yağ çıkışına yerleştirerek yağ örneğini çizin.
(6) yağ numunesi miktarı kullanıcı tarafından deneysel projenin ihtiyaçlarına göre belirlenir.
(7) yağ örneği toplandığında, yağ örnek valf cıvatasını ve valf kapağını sıkın.
(8)Yağ enjeksiyon borusu kapağını transformatör kutusunun üst kısmında açın ve aynı modelin transformatör yağını yavaşça, aynı ağırlıkta dökün ve testini yağ enjeksiyon borusu içine geçirin ve yağ enjeksiyon borusu kapağını sıkın ve yağ örneği ve yağ doldurma süreci tamamlanır.
3. transformatörlerin bakımı
3.1 Tam mühürlü yağ daldırılmış transformatörlerin bakım ve denetim standartları Tablo 4 ve Tablo 5'te aşağıdaki gibidir.
Tablo 4 düzenli denetim standartları
Seri numarası | Inspection items | Inspection essentials | Cycle | Judgment criteria | remark |
1 | yalıtım direnci | Use a 2500V rocking meter or a Aynı etkiye sahip ölçüm aleti Aşamayı yere ölçün | Irregular | 35KV side: 270MΩ 10KV side: 200M Ω 1KV side: 50MΩ | After a serious overvoltage or serious accident, this experiment is carried out |
2 | Insulating oil | Chromatographic analysis | 6 years | GB7252-87 "Guidelines for the Analysis and Judgment of Dissolved Gas in Trafo Oil" | After a serious overvoltage or serious accident, this Deney dönem ile sınırlı değildir |
3 | thermometer | 1. dahili spot muayene (pas ve nem emm mme) 2. Gask condition 3. sıcaklık göstergesi, belirten eylem 4. Temperature rating | 2 years | 1. No rust 2. No damage 3. normal eylemi belirtin (hafifçe dokunun) 4.85°C | |
4 | Oil level gauge | 1. External inspection 2. yağ yüzeyinin yağ dolu olup olmadığı | 1 year | 1. No rust, no oil stains on the glass 2. yağ yüzey hattı görülebilir olup olmadığını | There is no oil level gauge Bu öğe kontrol edilmeyecek |
5 | casing | 1. terminal durumu 2. kol durumu 3. Does oil leak? | 2 years | 1. gevşeme veya renk değişikliği yoktur 2. hasar veya defacement yoktur 3. yağ sızıntısı veya hava kaçağı yok | Herhangi bir anormallik varsa, olmalı be dealt with in time |
6 | Grounding wire | Rugged state | 2 years | Gevşeme yok, kırık kablo yok | |
7 | pressure release valve | 1. Whether the seal is oily 2. kurşun tel bağlantısı olup olmadığınıis firm | 2 years | 1. No oil seepage 2. herhangi bir anormallik varsa, zamanında ele alınmalıdır | If there is leakage Zamanında bununla başa çıkmak |
Tablo 5 günlük denetim standartları
Seri numarası | Inspection items | Inspection essentials | Cycle | Judgment criteria | remark |
1 | Body appearance | Kir, çatlak veya yağ sızıntısı yok | January | There should be no dirt, cracks, oil leakage, etc | Herhangi bir anormallik varsa, olmalı be dealt with in time |
2 | The sound and odor of the body | Abnormal sounds and smells (hearing, smell) | January | 1. Sounds and vibrations caused by excitation are normal 2. Abnormal sounds Iletken parçanın sabitleme somunun gevşetilmesi ve boşaltılması gibi 3. yalıtımın yanmasıwill have a special odor | If there is any abnormality, Sebebini araştırın ve bununla başa çıkın timely manner |
3 | Body temperature | Sıcaklık artışı normal olup olmadığı | January | The load current borne by the transformerYağın sıcaklık artışı ile ilgilidir surface | If there is any abnormality, investigate the cause and deal with it in a timely manner |
4 | Body oil surface | Yağ yüzeyinin normal olup olmadığı (yağ yüzey tablosu) | January | Yağ bir yağ seviyesi göstergesi ile doldurulmalıdır | If there is no oil level gauge, Hiçbir nokta denetimi yapılabilir |
5 | current | Akımın izin verilen değeri aşıp aşmadığı ve Üç fazlı akımın dengeli olup olmadığı (Amm mmeter) | January | Her fazın akımı, nominal aralık içinde kabaca dengelenmiştir | If the imbalance is serious, it should be adjusted in time |
3.2 yağ sızıntı tedavisi ve yağ ikmal yöntemi
3.2.1 Mühürdeki yağ sızması sızarsa, spiral bir anahtar ile sıkılaştırılabilir ve yağ lekeleri kuru silinebilir.
3.2.2 sızdırmazlık malzemesi yağ sızıntısına neden olursa, conta değiştirilmelidir.
Kaynaktaki 3.2.3 yağ sızıntısı zamanında ele alınmalıdır.
3.2.4 yağ sızıntı işleminden sonra, yağ ikmal yöntemi 2.2.7 nokta 8 ile aynıdır.
3.2.4.1 Pet rol De ği ştir me miktar ı : Normal koşul lar altında , tank tan s ız an yağ miktar ı küçük tür , bu nedenle yağ doldur ma miktar ı tank kapa ğı ndaki yağ doldur ma larına tab idir ve o zaman ki yağ sıcak lığı ve ortam sıcak lığı göz ardı edile bilir .
3.3 Tamamen mühürlü transformatörlerin vakum yağ enjeksiyonunun amacı, vakum koşulları altında bobin içindeki gazı mümkün olduğunca ortadan kaldırmaktır, böylece transformatör yağı bobin ve yalıtım malzemesi içindeki boşlukları doldurabilir ve transformatörün yalıtım performansını ve hizmet ömrünü iyileştirir. Yağ sızıntısı nedeniyle yağ doldurma miktarı çok küçük olduğundan, bobinin mutlak gücünü etkilemez.
Kenar performansı (ireticisi vakum yağ enjeksiyon sürecinde belirtiyor: vakum yağ enjeksiyonu koşulunda, yağ kutu kapağından yaklaşık 100 mm mm uzağa enjekte edilir ve daha sonra yağ enjeksiyonu durdurulur, ancak vakum 1 saat boyunca devam eder ve daha sonra yağ enjeksiyon borusundan kutu kapağından yağ seviyesi yağ enjeksiyon borusunun tepesine yükseltmek için enjekte edilir).
6. Permitted operation mode
1. Rated operation mode
1.1 Transformatör, belirtilen soğutma koşulları altında isim plaka özelliklerine göre çalıştırılabilen bir sıcaklık koruma rölesi ile donatılmalıdır.
1.2 Transformatörün çalışması sırasında izin verilen sıcaklık, üst yağ sıcaklığı artışına göre kontrol edilir ve üst yağ sıcaklığı artışının izin verilen değeri 55 °C'dir, ancak maksimum sıcaklık 95 °C'yi geçmemelidir. Transformatör yağının hızlı yaşlanmasını önlemek için, üst yağ sıcaklığı genellikle 85 ° C'yi geçmemelidir.
1.3 Aşama aşma transformatörlerinin ve aşağı aşma transformatörlerinin uygulanan voltaj, nominal değerden daha yüksek olabilir, ancak genellikle nominal değerin% 5 'inden fazla olmayabilir, gerilim musluğu nerede olursa olsun, birincil voltaj uygulanırsa, karşılık gelen gerilim değerinin% 5' i geçmez, o zaman transformatörün ikincil tarafında nominal bir akım olabilir.
2. Allowable overload
2.1 Transformatör normal aşırı yük ve kaza aşırı yük altında çalışabilir. Normal aşırı yük düzenli olarak kullanılabilir ve izin verilen değeri, transformatörün yük eğrisine, soğutma ortamının sıcaklık merkezine ve aşırı yükden önce transformatörün yüküne göre belirlenir. Kaza aşırı yükü yalnızca kaza durumlarında kullanılabilir.Örneğin, çalışan birkaç transformatörden biri hasar görürse ve yedek transformatör yoksa, geri kalan transformatörlerin kaza aşırı yüküne göre çalışmasına izin verilir.
2.2 transformatör kaza aşırı yüklenmesinin izin verilen değeri aşağıdaki tabloda belirtilmelidir:
| Kaza aşırı yük oranı nominal yük | 1.3 | 1.5 | 1.75 | 2.0 | 3.0 |
Izin verilen aşırı yük süresi (dakika) | 120 | 45 | 20 | 10 | 1.5 |
3. izin verilen kısa devre akımının dengesiz akımı.
3.1 Transformatörün kısa devre akımı, nominal akımın 25 katını geçmemelidir ve kısa devre akımı geçme süresi aşağıdaki formülle hesaplanan değeri geçmemelidir::
T = 900/k saniye, k, anma akımına kararlı kısa devre akımının birden fazla olduğu yer.
3.2 Y, yn0 göre bobinleri bağlanan transformatörler için, orta hat akımı genellikle düşük voltaj bobinin nominal akımın% 25 'ini aşmamalıdır (kullanıcıların özel gereksinimleri hariç)
Yağa batırılmış güç transformatörlerinin genel bileşenleri için kullanım kılavuzu
1. Overview
Bu talimat kılavuzu, fabrika tarafından üretilen güç transformatörlerinin genel bileşenleri için uygundur, örneğin kovanlar, musluk değiştiriciler, basınç serbest bırakma valfları, yağ örnek flapları, termometre koltukları, toprak cıvataları ve yağ drenaj valfları. Diğer standart bileşenler talimat kılavuzları ile eşlik edilir.
2. Use and maintenance
(1) 35 kilovolt ve altındaki trafo burçları için kullanım kılavuzu

Şekil 1

Figure 2 Şekil 3
1.Ş ek il 1, 1 bin volt ve alt ındaki geri lim için kullanılan kompo zit bir k ovan , ak ım 300 -3 000 A ' dır .Ş ek il 2, 10 bin volt vol taj ı için kullanılan bir kab lo tipi k ılı f , ak ım 50 -300 A ' dır .Ş ek il 3, 35 k V vol taj ı ve 35 -6 00 A ak ımı olan ip li bir k ılı f göster ir .
2. Transformatör fabrikadan ayrıldığında, kovan transformatör yağı deposu üzerine monte edilir ve transformatörle birlikte kullanıcıya gönderilmektedir.
3. porselen tipini sökmeniz veya değiştirmeniz gerekiyorsa, aşağıdaki şekilde yapılmalıdır.
(1)Kompozit kovan, önce kaldırma gövdesini kaldırın, ardından kovanın alt kısmının kurşununu çıkarın ve nihayetinde tüm bağlayıcı somunları açın, kovanı çıkarın ve temizlenmiş ve kurutulmuş yedek kovanı değiştirin.
(2)Kablo tipi kılıf için, kılıfı değiştirirken, kılıf harici olarak değiştirilebilir ve eklem fındığı değiştirildiğinde açılmalıdır ve eklem, yağ deposu içine kaymayı önlemek için bakır tel veya iplik kemeri ile çekilmeli ve daha sonra çıkarılmalıdır, porselen kapak, mühürleme dolusu ve basınç plaka, vb.
4. muhafazayı trafo yakıt deposuna takarken, aşağıdaki hususlara dikkat edilmelidir.:
(1)Bileşik kovan için, yağ sızıntısını önlemek için transformatörün kutu kapağına porselen kısmını tam olarak sıkmak için, kovanın üst ve alt kısımları porselen kısmının somunu sabitlemek için sıkılaştırılmalıdır.
(2)Kablo tipi kılıf için, kılıfı sabitleyen presör vidasının somusu eşit şekilde sıkılaştırılmalıdır ve daha sonra iletken çubuk, kılıfın transformatör yağ deposu üzerinde sıkı bir şekilde kurulduktan sonra sabitlenir.
5. Sürekli kullanımda, porselen kılıf yüzeyinin boşaltılmasını önlemek için kir durumuna göre sık sık yıkanmalıdır.
(2) No excitation tap-changer
Şirketimiz tarafından üretilen üç fazlı yağ daldırılmış tam mühürlü güç transformatörleri, genellikle kutu kapağında WSP tipi yüksiz musluk-değiştiricilerle donatılmıştır, böylece elektrik olmadığı zaman yüksek voltajlı yan musluk-değiştiricisini değiştirir.
1. WSPII1 tipi uyarı dışı nötr nokta voltaj regülatörü tuş değişicisinin tipik yapısı Şekil 4 'te gösterilmiştir.
2.±% 5 voltaj düzenleme aralığında musluk-değişicinin dijital göstergesi tarafından belirtilen voltaj değeri için: 1 nominal voltaj değeri% 5 ile musluk konektörünü gösterir, 2 nominal voltaj değeri gösterir ve 3 nominal voltaj değeri% 5 ile musluk konektörü gösterir.
3. Musluk değiştiricisinin konumunu değiştirirken, 4 maddenin kapağındaki vida açılmalı ve çıkarılmalı, 3 maddenin tutma konumlandırma kısmı oluk deliğinden çekilmeli ve daha sonra 2 maddenin istenen musluk pozisyonuna döndürülmeli ve tutma konumlandırma kısmı ilgili oluk deliğine gömülmeli ve bir kapakla kaplanmalıdır.
4. Transformatörün ihtiyaçları nedeniyle musluk değiştiricisi sıklıkla tek bir pozisyonda çalışırsa, kontak parçasındaki oksit filmini ve yağ lekelerini ortadan kaldırmak ve iyi temas sağlamak için, transformatörün voltajı değiştirmesi gerekip gerekmediğine bakılmaksızın, musluk değiştiricisi yılda en az 10 kez döndürülmelidir. Voltajı değiştirmeye gerek yoksa, döndürme sonrasında orijinal pozisyonda sabitlenir ve musluk pozisyonu değiştirilmeli ve çalışmaya başlamadan önce yolu ölçmek için köprü veya multimetre kullanılır.
5. Transformatör yağının musluk değiştiricisinden sızdığı tespit edilirse, nereden sızdığını öğrenin. Yağ, transformatör yakıt deposu kapağından ve musluk değiştiricisi flanşundan sızarsa, 6 maddesinin düz somusu derhal sıkılaştırılmalı ve şaft ve flanş yağı sızdırırsa, 5 maddesinin somusu sıkılaştırılmalıdır, ancak döndürme torkundaki aşırı artıştan kaçınmak için çok sıkı sıkılaştırılmamalıdır.

Şekil 4 wspiii tip 1 musluk değiştirici
Orta gerilim düzenlemesi ise, WPS II.1 uyarı dışı musluk değiştiricisi kullanılır ve çalışma ve bakım yöntemi temelde yukarıdaki ile aynıdır. Yukarıdakilerden başka uyarı dışı musluk değiştiricileri için, detaylar için lütfen ilgili musluk değiştiricisi el kitabına bakın.
(3) Pressure release valve
1. ürün kullanımı ve performans tanıtımı:
Basınç salınma valfleri (bundan sonra salınma valfleri olarak anılır) sıvı veya gaz yalıtımlı transformatörler, transformatörler, yüklü musluk değiştiriciler, yüksek voltajlı anahtarlar, kondansatörler ve yakıt deposu korumak için diğer ürünler için uygundur.
Transformatör veya yüklü musluk değiştiricisinin içinde bir kaza meydana geldiğinde, transformatörün bir kısmı gazlaşır ve transformatör tankındaki basınç hızla artmasına neden olur. Güvenilir bir koruma almazsanız, tank deforme olabilir veya hatta patlayabilir. Salılama valfi, transformatör tankını hasardan korur. Yakıt deponunun basıncı serbest bırakma valfesinin çalışma basıncına ulaştığında, serbest bırakma valfi yakıt deposundaki aşırı basıncı zamanında serbest bırakmak için 2 milisaniye içinde açılır.
Salıverme valfi açıldıktan sonra, yakıt depokundaki basınç, çalışma basıncının yaklaşık% 53-55'ine düşer ve salıverme valfi güvenilir bir şekilde kapatılabilir. Salınma valfinin bu özel işlevi, yakıt deposu hasardan etkili bir şekilde koruyabilen koruma nesnesinin özel ihtiyacıdır. Tanktaki basınç tekrar yükseldiğinde ve çalışma basıncına ulaştığında, serbest bırakma valfi, tanktaki basınç normal değerine düşene kadar tekrar hareket eder. Transformatör devreye girdiğinde, 11. emniyet kaldırılmalıdır.
Eylemden sonra serbest bırakma valfi güvenilir bir şekilde kapatılabildiğinden, yakıt deposu dışındaki hava ve su yakıt deposu içine giremez ve transformatör yağı atmosfer tarafından kirlenmez.
2. model, özellikler ve temel parametreler
2.1 model
YSF□-□ □ □
YSF – Pressure Relief Valve Code
□ - Tasarım seri numarası
□ – Turn on the pressure kPa
□ - Yağ enjeksiyonunun etkili kalibresi mm mm
□ - Alarm sinyali çevre koşulları ve kilitleme cihazı*
※: 1. mekanik sinyal işareti "j" için kullanılır.
2. nemli tropikal alanlarda kullanım için "j" işaretinden sonra "th" ekleyin.
3. bir kilitleme cihazı kullanılırsa, ardından "b" ekleyin.
For example: YSF6-35/25JTHB
Yani, yağ enjeksiyon çapı φ25mm mm, açılış basıncı 35kPa, mekanik bir alarm sinyali ile, nemli ve sıcak bölge kilitleme cihazı ve basınç serbest bırakma valfının altıncı tasarımı için kullanılır.
2.1 özellikleri ve temel parametreler tablo 1'de gösterilmiştir.
3. yapısal basınç tahliye valfinin yapısı şekil 5'te gösterilmiştir.
Tablo 1 özellikleri ve temel parametreler
Effective caliber (mm mm) | Turn on the pressure (kPa) | Open pressure limit deviation (kPa). | Turn off the pressure (kPa) | Sealing pressure (kPa) |
φ25 φ50 | 15 | ±5 | 8 | 9 |
25 | 13.5 | 15 | ||
35 | 19 | 21 | ||
55 | 29.5 | 33 |

Basınç tahliye valfinin yapısının fig.5 şematik diyagramı
4. Use
Bir kilitleme cihazına sahip bir serbest bırakma valfi ekipmanını seçin ve kilitleme işi ekipmanı çalıştırmadan önce çıkarılmalıdır, aksi takdirde valf açılamaz.
İşlem sırasında basınç serbest bırakma valfinin çalıştırılmasından sonra, hatası yeniden kullanıma sunulduktan sonra işaretçi çubuğu sıfırlanmalıdır. Kurulum sırasında serbest bırakma valfi isteksiz çıkarılamaz.
Basınç salınma valfi yağ sızıntısı vardır ve zamanında çözmek için önlemler alınmalıdır ve yağ sızıntısının ana nedenleri kabaca aşağıdaki gibidir::
a. Bazı nedenlerden dolayı, yakıt depokundaki basınç çok yüksektir, bu da serbest bırakma valfesinin mühürleme basıncını aşmıştır, ancak henüz açılış basıncına ulaşmamıştır ve sızıntıya neden olur.
B. Valfadaki sızdırma halkalarının bazıları yaşlanmış ve başarısız olmuştur ve başarısız olan yalıtıcı halka zamanında üreticisiyle değiştirilmelidir.
C. sızdırmazlık yüzeyinde yabancı bir nesne varsa, zamanında ortadan kaldırılabilir.
5. Maintenance and overhaul
5.1 Valfın aşağıdaki bakımını yapmak için elektrikli ekipmanların her elektrik kesintisi bakımının fırsatından yararlanın.
A. açılış eyleminin hassas olup olmadığı.
B. Sızdırma halkasının yaşlanıp, deforme edilmiş veya hasar görmüş olup olmadığını. Herhangi bir anormallik bulunursa, yağ sızıntısı veya lastik yüzüğün yaşlanması nedeniyle serbest bırakma valfinin hatalarından kaçınmak için zamanında değiştirilmelidir.
C. vana içindeki yabancı vücudu temizleyin.
D. parçaların paslanmış, deforme olmuş veya hasar görmüş olup olmadığı.
5.2 kullanıcı, muayene sırasında değiştirme durumunda birkaç serbest bırakma valfini hazırlamalıdır.
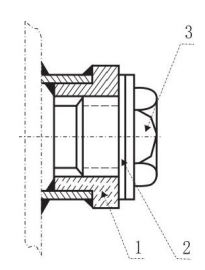
(4) Oil sample flap
Genellikle yağ numuneleri için yakıt deponunun alt kısmının düşük basınç tarafı yönünde kurulur. Kullanılırken, önce kapağı açın, yağ örneği hortumunu yumuşak eklem 1 üzerine koyun: daha sonra yağı konektörden serbest bırakılana kadar fişi yavaşça bükün ve tamamlandıktan sonra kapağı vidalayın.

Figure 6
(5) Thermometer seat
Transformatörün yağ yüzeyindeki sıcaklık artışını ölçmek için.Ölçüm için cıva termometresi kullanıcı tarafından sağlanır. Termometre koltuğunun yapısı Şekil 7 'de gösterilmiştir. Sıcaklık sensörü soketi transformatör yağı ile doldurulur ve yağ yüzey sıcaklığı artışı ölçüldüğünde, kapağı açın ve cıva termometresini takın.Ölçüldükten sonra termometreyi çıkarın ve kapağı tekrar sıkın.

Figure 7
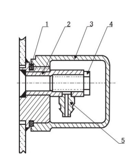
(6) Grounding bolts
Bir topraklama cıvata, transformatörün genel topraklanması için tankın düşük voltaj tarafının alt kısmına kaynaklanır. Yapısı Şekil 8 'de gösterilmiştir. Madde 2 yıkayıcısında, ev bağlantısı topraklama bus çubuğuna bağlanır ve transformatörün güvenli çalışmasını sağlamak için maddenin 3 cıvata sıkılır. Kolay tanımlama için, topraklama işareti var.

Figure 8
(7) Oil flap
Yağ drenaj valfi, transformatör kazaları veya temizlik ve yağ drenajı için yakıt deponunun düşük voltaj tarafı yönünde monte edilir.

Figure 9

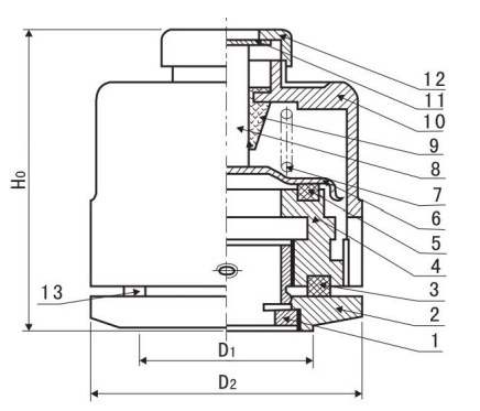
Tamamen kapalı yağa batırılmış güç trafosu bileşeni
Seri numarası | Code | Name | quantity | Remarks |
11 | tap-changers | 1 | ||
10 | Signal thermometer mount | 1 | There are more than 1000KVA | |
9 | Mercury thermometer holder | 1 | ||
8 | Ground bolt | 1 | ||
7 | Oil sample flap | 1 | ||
6 | Trafo cabinet | 1 | ||
5 | Gas relays | 1 | There are more than 800KVA | |
4 | Low pressure casing | 4 | ||
3 | High pressure casing | 3 | ||
2 | Oil level gauge | 1 | ||
1 | Pressure relief valve | 1 |
- - - - - - - - - - - - - - - - - - - - - - - - - - - - - - - -S9\S11\S13 Sıvı Doldurulmuş Transformatörler