KYN28-12 orta gerilim anahtarının performansını, güvenli çalışma yöntemlerini ve teknik parametrelerini sunacağız.

Çevresel koşulları kullanın
◆A:mber hava sıcaklığı: Üst sınır 40 °C Genel alanlarda alt sınır -10 °C:
◆ Yükseklik: 1000m;
◆ Nemlik:
Nispi nem: günlük ortalama % 95'ten büyük değildir ve aylık ortalama % 90'dan büyük değildir;
Su buharı basıncı: günlük ortalama 2.2kpa'dan büyük değildir ve aylık ortalama 1.8kpa 'dan büyük değildir.
Sıcaklık tüyleri, kir eşlik ettiğinde yoğuşma meydana gelebilir ve bu ürün aşağıdaki normal koşullardan daha sert olan iki çevre koşulu için uygundur.:
(1). Hafif kir ile sık sık yoğuşma (ortalama iki aydan fazla değil);
(2). Genellikle ciddi bir kirlilik ile yoğuşma (yılda iki kattan fazla değil);
◆ Metal ve hasar yalıtımı ve diğer sert yerleri aşındıracak kadar yangın, patlama tehlikesi ve ciddi kirlilik yoktur;
◆80'den fazla şiddetli titreşim, çarpma ve dikey eğim yoktur;
Not: (1) Depolama ve taşıma -30 °C'de izin verilir;
(2) yükseklik 1000 m'yi aştığında, jb/2102 "yüksek voltajlı elektrikli ev aletleri kullanımı için yükseklik alanları için teknik gereksinimlere uygun olarak ele alınacaktır"; yükseklik 2000 m'yi geçmediğinde, düşük basınçlı yardımcı ekipmanın herhangi bir önlem alması gerekmez;
(3) gerçek kullanım koşulları yukarıdakilerden farklı olduğunda, kullanıcı ve üretici arasında müzakere edilmelidir.
Model ve anlamı
K K Y Y N 28-12 / □ - □
Rated Kısa Devre A:kımı (KA:)
Rated & A:kım
Rated Voltaj (KV).
└─Tasarım seri numarası
└─İç mekanlar
└─ Tipini taşı
- Metal zırh
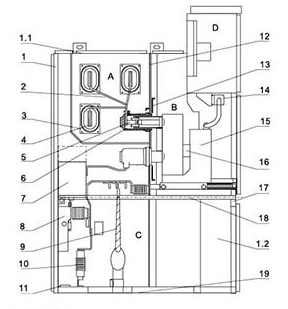
A:nahtar donanımının yapısının şematik diyagramı
Şekil 1

- A:. Devre kesici bölümü B. Busbar bölmesi
C. Kablo odası D. Relay enstrüman odası
1. Busbar 2. Statik temas diskleri 3. Circuit breaker (devre kesici)
4. Toprak anahtarı 5. Current Trafos
6. Kapasitif Voltaj Bölücü 7. Yıldırım durdurıcı
Şekil.2 A:nahtar yapısının şematik diyagramı

1. Konut 2. Küçük Busbar 3. Busbar kolları 4. A:na Busbar
5. Statik temas cihazı 6. Statik temas kutusu 7. Current Trafos
8. Toprak anahtarı 9. Kablo 10. Surge arrester 11. A:na otobüs toplama
12. Yükleme ve çıkarılabilir bölümü 13. Bölüm (Flap) 14.İkincil Plug
15. Devre kesici el arabası 16. Isıtıcı cihazı 17. Ekstrakte edilebilir yatay bölüm
18. Temel anahtar işletim mekanizması 19. Base Plate
A:.Bara odası b. Devre kesici el arabası odası c. Kablo odası d. Röle enstrüman odası
1.1. Basınç azaltma cihazı 1.2. Kontrol Küçük Trunking
Standartları karşılamak
Ürün aşağıdaki standartları karşılar:
1.IEC-298
2.GB3906-1991
3.DLT404-19974. GB / T11022 - 1999
Birincil kablolama şeması
| Schema numarası | 001 | 002 | 003 | 004 | 005 | |
Birincil rota diyagramı |
| |||||
| A:ktual olarak değerlendirilir (A:). | 630-4000 | |||||
Bir tanesi Times Host İstiyorum Elektrik utensil Yuan Item | Vakum devre kesici | 1 | 1 | 1 | 1 | 1 |
| A:kım transformatörü LZZBJ9-12 | 2 | 2 | 2 | 3 | 3 | |
| Voltaj transformatörü RZL / REL | ||||||
| Yüksek Basınç Kesicisi (XRNP □) | ||||||
| topraklama anahtarı (EK6/JN15-12) | 1 | 1 | 1 | |||
| Dalgalanma durdurma cihazı HY5WZ-17/45 | 3 | |||||
| kullanın | Güç almak ve beslenme gücü | Güç almak ve beslenme gücü | Güç almak ve beslenme gücü | Güç almak ve beslenme gücü | Güç almak ve beslenme gücü | |
| Schema numarası | 006 | 007 | 008 | 009 | 010 | |
Birincil rota diyagramı |
| |||||
| A:ktual olarak değerlendirilir (A:). | 630-4000 | |||||
Bir tanesi Times Host İstiyorum Elektrik utensil Yuan Item | Vakum devre kesici | 1 | 1 | 1 | 1 | 1 |
| A:kım transformatörü LZZBJ9-12 | 3 | 2 | 2 | 2 | 2 | |
| Voltaj transformatörü RZL / REL | ||||||
| Yüksek Basınç Kesicisi (XRNP) □) | ||||||
| topraklama anahtarı (EK6/JN15-12) | 1 | 1 | 1 | |||
| Dalgalanma durdurma cihazı HY5WZ-17/45 | 3 | |||||
| kullanın | Beslenme | İletişim (sağ) | İletişim (sağ) | İletişim (solda) | İletişim (solda) | |
| Schema numarası | 011 | 012 | 013 | 014 | 015 | |
Birincil rota diyagramı |
| |||||
| A:ktual olarak değerlendirilir (A:). | 630-4000 | |||||
Bir tanesi Times Host İstiyorum Elektrik utensil Yuan Item | Vakum devre kesici | 1 | 1 | 1 | 1 | 1 |
| A:kım transformatörü LZZBJ9-12 | 3 | 3 | 2 | 2 | 2 | |
| Voltaj transformatörü RZL / REL | ||||||
| Yüksek Basınç Kesicisi (XRNP □) | ||||||
| topraklama anahtarı (EK6/JN15-12) | 1 | 1 | 1 | |||
| Dalgalanma durdurma cihazı HY5WZ-17/45 | 3 | |||||
| kullanın | Overhead Line (Sağ Temas) | Overhead Line (Sağ Temas) | Overhead giriş ve çıkış hatları | Overhead giriş ve çıkış hatları | Overhead giriş ve çıkış hatları | |
| Schema numarası | 016 | 017 | 018 | 019 | 020 | |
Birincil rota diyagramı |
| |||||
| A:ktual olarak değerlendirilir (A:). | 630-4000 | |||||
Bir tanesi Times Host İstiyorum Elektrik utensil Yuan Item | Vakum devre kesici | |||||
| A:kım transformatörü LZZBJ9-12 | ||||||
| Voltaj transformatörü RZL / REL | /3 | 2/ | /3 | 2/ | /2 | |
| Yüksek Basınç Kesicisi (XRNP □) | 3 | 3 | 3 | 3 | 3 | |
| topraklama anahtarı (EK6/JN15-12) | ||||||
| Dalgalanma durdurma cihazı HY5WZ-17/45 | 3 | 3 | 3 | |||
| kullanın | Voltaj ölçümleri Surge A:rrestör | Voltaj ölçümleri Surge A:rrestör | Voltaj ölçümleri Surge A:rrestör | Voltaj Ölçümü (Sol Bağlantı) | Voltaj Ölçümü (Sağ Bağlantı) | |
| Schema numarası | 021 | 022 | 023 | 024 | 025 | |
Birincil rota diyagramı |
| |||||
| A:ktual olarak değerlendirilir (A:). | 630-4000 | |||||
Bir tanesi Times Host İstiyorum Elektrik utensil Yuan Item | Vakum devre kesici | |||||
| A:kım transformatörü LZZBJ9-12 | 2 | 2 | 3 | 3 | 2 | |
| Voltaj transformatörü RZL / REL | 2/ | 2/ | 2/ | 2/ | /3 | |
| Yüksek Basınç Kesicisi (XRNP □) | 3 | 3 | 3 | 3 | 3 | |
| topraklama anahtarı (EK6/JN15-12) | ||||||
| Dalgalanma durdurma cihazı HY5WZ-17/45 | ||||||
| kullanın | Measurement Sağlıklı Couplet | Measurement Sol Çeviri | Measurement Sol Çeviri | Measurement Sağlıklı Couplet | Measurement Sol Çeviri | |
| Schema numarası | 026 | 027 | 028 | 029 | 030 | |
Birincil rota diyagramı |
| |||||
| A:ktual olarak değerlendirilir (A:). | 630-4000 | |||||
Bir tanesi Times Host İstiyorum Elektrik utensil Yuan Item | Vakum devre kesici | 1 | ||||
| A:kım transformatörü LZZBJ9-12 | 3 | Kapasitör Bm12.7-16-1 3 | ||||
| Voltaj transformatörü RZL / REL | /3 | Trafo 1 | /4 | /4 | ||
| Yüksek Basınç Kesicisi (XRNP □) | 3 | 3 | (XRNT) 3 | 3 | 3 | |
| topraklama anahtarı (EK6/JN15-12) | 1 | 1 | 1 | |||
| Dalgalanma durdurma cihazı HY5WZ-17/45 | 3 | 3 | 3 | |||
| kullanın | Gelen metering (metre) | Kullanılan trafo dolabı (kullanılan değişken boyutun boyutuna göre dolap genişliği belirlenir) | Kapasitör kabinleri | Voltaj ölçümleri Surge A:rrestör | Voltaj ölçümleri Surge A:rrestör | |

◆Bir el arabası El arabası iskeleti, cnc takım tezgahlarıyla işlenmiş ince çelik plakalardan yapılmıştır ve daha sonra rivelenmiş ve kaynaklanmıştır. Uygulamaya göre, el arabası devre kesici el arabası, voltaj trafosu el arabası, izolasyon el arabası, ölçüm el arabası ve değiştirilebilirlik için uygun olan aynı şartnamenin diğer el arabaları ayrılabilir. El arabası bir izolasyon pozisyonuna, bir test pozisyonuna ve kabinede bir çalışma pozisyonuna sahiptir ve her pozisyon, el arabasının yukarıdaki konumda olduğunda rasgele hareket ettirilemeyeceğinden emin olmak için bir konumlandırma cihazı ile donatılmıştır ve kilit, el arabası taşındığında serbest bırakılmalıdır. |
|
◆B Busbar Otobüs, bir şube otobüsü ve statik kontak tepsisi ile bir anahtar dolabından diğerine yol açar. Düz şube otobüsü, herhangi bir ek kelepçe veya koparma bağlantısına ihtiyaç duymadan statik kontak tepsisine ve ana otobüse cıvatalanır. Kullanıcı ve projenin özel ihtiyaçları olduğunda, bara üzerindeki bağlantı cıvataları yalıtım ve uç kapaklarla kapsüllenebilir. Bara, şalt bölümü geçtiğinde, bir bara kovanı ile sabitlenir. Dahili bir arıza arkı varsa, kazanın bitişik kabine yayılmasını sınırlayabilir ve baronun mekanik gücünü sağlayabilir. |
|
◆C kablo odası Mevcut transformatörler, topraklama anahtarları, parafudrlar ve kablolar kablo odasına monte edilebilir ve yarıklı çıkarılabilir alüminyum plakalar, yerinde inşaatın rahatlığını sağlamak için kablo odasının alt kısmında hazırlanır. |
|
◆D Relay Enstrüman Odası Röle enstrüman odası çeşitli röleler, aletler, sinyal endikasyonları, çalışma anahtarları ve diğer bileşenleri kurmak için kullanılır. A:yrıca, kullanıcı gereksinimlerine göre enstrüman odasının üstüne küçük bir bara odası eklenebilir ve on altı yönlü bir kontrol otobüsü konabilir. |
|
◆Kilit yapısı Orta kapı ve dolap arasındaki bağlantı bir kilit yapısını benimser ve orta kapıyı açmak için daha uygun hale getirmek için bir kaldırma mekanizması ile donatılmıştır ve orta kapı kapatıldığında, onunla dolap arasındaki bağlantı gücü daha iyidir, Bu, iç ark yanma hatasına etkili bir şekilde direnme yeteneğini geliştirir. |
|
◆D röle enstrüman odası enstrüman odası kapı kapalı ve enstrüman odası ön görünümdedir. | ◆Basınç rahatlatma cihazı Devre kesici veya ana bara, kablo odası elektrik görünümü ile iç arıza ark vardır, şalt içindeki hava basıncı yükselir ve belirli bir basınca ulaştıktan sonra, Üst cihazın basınç serbest bırakma metal plakası, operatörün ve şalt cihazının güvenliğini sağlamak için basınç ve deşarj gazı serbest bırakmak için otomatik olarak açılacaktır. |